公司投资幼儿园有哪些税务优惠?

下面我将从投资阶段和运营阶段两个维度,结合中国的税收法规,为您详细梳理公司投资幼儿园可能涉及的税务问题,第一部分:投资阶段的税务问题当公司决定投资并设立幼儿园时,主要涉及以下几个税务环节:资产投入环节(以非货币性资产投资为例)如果公司不是用现金投资,而是用其拥有的土地、房屋、设备等非货币性资产来投资...

美国投资买房,哪些注意事项最关键?

以下是您在美国投资买房时必须注意的详细事项,我将从核心原则、具体步骤、关键风险和后续管理四个方面进行梳理,第一部分:核心原则与心态准备在开始之前,先建立正确的投资心态,这比任何技巧都重要,明确投资目标:现金流: 您追求每月租金收入是否能覆盖甚至超过月供和各项开支,产生正向现金流吗?这是大多数投资者看...

建设投资公司经营范围

核心与基础经营范围这是大多数建设投资公司,尤其是政府背景的平台公司,最核心、最基础的经营范围,主要围绕城市建设和发展展开,城市基础设施及公用事业投资、建设与运营投资: 对城市道路、桥梁、隧道、供水、排水、燃气、热力、环境卫生、公共交通、公园绿地等基础设施项目进行股权投资、债权投资或项目投资,建设: ...

广东信托国际投资公司有何业务动向?

目前在中国大陆,并没有一家名为“广东信托国际投资公司”的、独立存在的、公开运营的知名企业,这个名称更像是一个历史名称、一个业务描述,或者是一个被误解/误传的名称,其核心指向极有可能是 “广东国际信托投资公司”(简称“广信”,GITIC),下面我将为您详细解析“广信”这家公司,因为这才是理解您所询问名...

投资中介公司怎么做账

下面我将从核心业务流程、会计科目设置、做账步骤、税务要点以及一个简化的例子五个方面,详细拆解投资中介公司的做账方法, 核心业务流程与收入确认要理解投资中介公司的钱从哪里来,到哪里去,收入来源 (主营业务收入):财务顾问费/咨询费:为项目(如融资、并购、IPO)提供咨询服务,按项目或按小时收取固定费用...

企业投资计划书核心要点与写作技巧有哪些?

下面我将为您提供一个全面、结构化的指南,包含核心要素、撰写技巧、模板框架以及注意事项,帮助您写好一份出色的企业投资计划书, 什么是企业投资计划书?要明确它与商业计划书的区别:商业计划书: 更侧重于全面介绍一个企业,包括市场分析、团队介绍、运营模式、营销策略等,是一个“全景图”,企业投资计划书: 是商...

邢台有个人想投资的吗

这是一个非常开放的问题,但非常有价值,想投资的人很多,但关键在于“投资什么”和“和谁一起投”,邢台作为一个正在发展的地级市,有其独特的机遇和挑战,为了给您更精准的建议,我们可以从几个方面来探讨,请您先思考一下,您属于哪一类投资者?第一步:先明确您的投资类型和方向您是以下哪种类型呢?A. 本地创业者/...

拍拍贷散标投资风险究竟有多大?

您说的非常正确,拍拍贷散标投资是存在显著风险的,这绝不是一句空话,而是所有投资者在进入这个市场前必须清醒认识到的核心问题,“散标投资”是指投资者在P2P(个人对个人)平台上,不是购买平台打包好的理财产品(如“智投计划”),而是自主挑选并直接投资于平台上的每一个借款标,这种方式虽然给了投资者更多的自主...

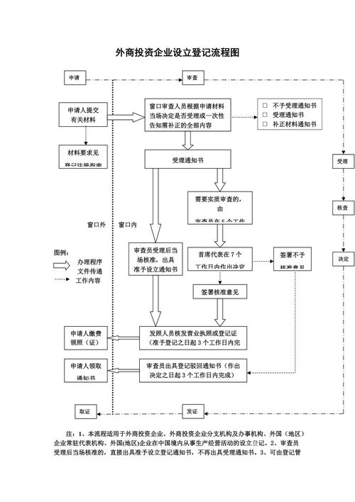
外商投资企业设立流程有哪些关键步骤?

外商投资企业需要明确几个关键概念:外商投资企业:指外国投资者(包括外国公司、经济组织或个人)依照中国法律,在中国境内与中国投资者或单独投资设立的企业,主要形式:中外合资经营企业:股权式企业,中外双方共同投资、共同经营、共担风险、共负盈亏,双方按出资比例分享利润和承担风险,中外合作经营企业:契约式企业...

外资股权投资管理机构有何运作特点?

核心定义外资股权投资管理机构,通常指由外国投资者(包括企业、基金、个人等)出资设立,在中国境内或境外注册,并依据相关法律法规(如中国的《外商投资法》、《私募投资基金监督管理暂行办法》等)设立和运作,专门从事股权投资(即非上市公司股权投资)的专业管理公司,就是“外国人的钱 + 中国的专业团队 + 投资...