境外投资项目核准办法有哪些关键点?
这份文件是中国企业或个人进行境外投资(简称“ODI”,Outbound Direct Investment)时,需要遵循的最核心的监管规定,它由国家发展和改革委员会(简称“国家发改委”)发布并负责解释。
(图片来源网络,侵删)
核心概览
要明确一个核心概念:中国的境外投资管理已经从过去的“核准制”为主,转变为现在的“备案为主、核准为辅”的管理模式,这意味着绝大多数境外投资项目不再需要经过发改委的行政审批,而是进行信息性的备案,流程大大简化。
核心管理机构
-
国家发展和改革委员会(国家发改委)
- 角色:境外投资宏观管理和综合管理部门。
- 主要职责:负责全国境外投资项目的综合管理,制定发展规划、政策和管理办法,并负责需要核准的项目的审批。
-
商务部
- 角色:负责企业境外投资开办企业的具体管理。
- 主要职责:主要是管理设立境外贸易公司、代表处等,与发改委的管理各有侧重,但有时会协同工作。
-
地方发改委和商务部门
(图片来源网络,侵删)- 角色:根据项目主体的注册地和投资金额,由地方发改委和商务部门承接相应的核准或备案职能。
- 例如:一家在北京注册的公司,投资1000万美元去柬埔寨建厂,这个项目可能由北京市发改委负责备案,而不是国家发改委。
核心管理方式:核准 vs. 备案
这是整个办法的灵魂,如何判断你的项目需要“核准”还是“备案”?主要看两个关键因素:投资主体和投资金额。
(一)需要“核准”的项目(少数情况)
根据《办法》,以下几类项目需要向国家发改委或地方发改委申请核准:
-
涉及敏感地区:
- 投资主体直接或通过其控制的境外企业,在未建交国家和受国际制裁的国家的投资项目。
-
涉及敏感行业:
(图片来源网络,侵删)- 投资主体直接或通过其控制的境外企业,投资以下敏感行业:
- 武器弹药制造的
- 跨境水资源开发利用的
- 新闻传媒的
- 涉及多国利益、影响中国国家安全的其他敏感行业(由发改委具体认定)。
- 投资主体直接或通过其控制的境外企业,投资以下敏感行业:
核准的特点:
- 审批性质:属于行政许可,有严格的审批流程和标准。
- :除了项目本身,还会重点审查其对国家主权、安全、利益的影响,是否符合国家宏观调控政策等。
- 时间成本:流程较长,不确定性较高。
(二)需要“备案”的项目(绝大多数情况)
除了上述需要核准的项目,所有其他类型的境外投资项目,原则上都实行备案管理。
备案的分类:备案也分为两种情况,由投资主体的注册地和投资金额决定。
| 投资主体注册地 | 投资金额 | 管理层级 | 办理部门 |
|---|---|---|---|
| 地方企业 | 中方投资额3亿美元及以上 | 地方初审,国家终审 | 项目所在地的省级发改委进行初审,通过后报国家发改委进行备案。 |
| 地方企业 | 中方投资额3亿美元以下 | 地方备案 | 项目所在地的省级发改委直接备案。 |
| 中央管理企业 | 任何金额 | 国家备案 | 国家发改委直接备案。 |
备案的特点:
- 非行政许可:不属于审批,是一种告知性管理。
- :主要审查申请材料的完整性和合规性,一般不进行实质性审查(即不评判项目本身的好坏或盈利能力)。
- 时间成本:流程相对快捷,只要材料齐全,通常在几个工作日内即可完成。
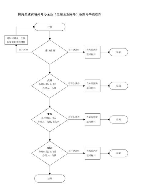
核心流程(以备案为例)
一个典型的境外投资项目备案流程如下:
-
准备材料:
- 《境外投资项目备案表》(在线填写并打印)
- 投资主体注册证明文件(如营业执照)
- 投资主体投资决策文件(如董事会决议)
- 项目简要情况说明(包括投资金额、资金来源、投资目的地、行业、主要产品/服务等)
- 证明投资资金来源的文件
- 其他相关证明文件
-
在线申报:
- 登录全国境外投资管理和服务网络系统(http://fwyz.ndrc.gov.cn)进行在线申报,上传电子版材料。
-
受理与审查:
- 发改委(国家或地方)在收到材料后,对材料的完整性进行审查。
- 如果材料不齐,会一次性告知需要补正的内容。
-
出具备案通知书:
材料齐全且符合要求后,发改委会出具《企业境外投资备案通知书》,这是企业开展境外投资、办理外汇、海关、税务等手续的重要依据。
-
后续事项:
企业在完成境外投资后,需要在规定时间内(通常是每年1月31日前)通过系统向发改委报送项目完成情况、实际投资金额等信息。
法律责任与重要提示
- 未批先投:未按规定办理核准或备案手续而开展境外投资的,发改委将责令其停止实施项目或补办手续,并可处以警告。
- 提供虚假信息:在申请过程中提供虚假材料的,发改委将不予受理或不予备案,并给予警告,将相关信息纳入全国信用信息共享平台。
- 资金出境:获得发改委的《备案通知书》是企业资金出境(ODI换汇)的前置必要条件之一,没有这个文件,银行将无法为企业办理外汇登记和资金汇出业务。
- “穿透式”管理:发改委对投资主体的管理是“穿透式”的,如果最终的实际控制人是境内自然人或法人,即使通过多层境外公司架构进行投资,也可能需要纳入境内监管。
- “实质性变更”:项目在备案后,如果发生投资主体、地点、行业、规模等实质性变更,需要重新向发改委申请办理变更或重新备案手续。
总结与建议
| 项目类型 | 管理方式 | 主要审查方 | 关键点 |
|---|---|---|---|
| 敏感地区/行业 | 核准 | 国家/地方发改委 | 国家安全、主权、利益,流程长,不确定性高。 |
| 非敏感地区/行业 | 备案 | 国家/地方发改委 | 材料合规性,流程快,是资金出境的前提。 |
给企业的建议:
- 精准判断:在启动项目前,首先根据投资目的地和行业,判断是否属于敏感类别,然后根据投资主体的注册地和金额,确定是向国家发改委还是地方发改委申请,以及是核准还是备案。
- 材料准备:提前准备好所有必要的证明文件,特别是投资决策文件和资金来源证明,确保材料的真实性和完整性。
- 专业咨询:由于政策可能存在细微调整,且地方执行口径可能略有不同,建议咨询专业的律师、会计师或咨询机构,以确保项目顺利推进,避免不必要的法律和合规风险。
- 关注后续:完成备案只是第一步,务必按时履行项目信息报送等后续义务,保持良好的合规记录。
文章版权及转载声明
作者:99ANYc3cd6本文地址:https://nbhssh.com/post/6262.html发布于 02-22
文章转载或复制请以超链接形式并注明出处宁波恒顺财经知识网



